Zum Hauptinhalt springen Zur Suche springen Zur Hauptnavigation springen
Menü

Beschreibung

BWT Amadeus eco RSF Rückspülfilter DN 25 1'' ohne Druckminderer komplett mit Anschlussflansch

  • Amadeus RSF 1'' Rückspülfilter
  • manueller Rückspülfilter
  • mit drehbarem Anschluss
  • für horizontalen und vertikalen Einbau in Trink- und Brauchwassersystemen
  • zum Schutz vor Funktionsstörungen und Korrosionsschäden durch Fremdpartikel
  • wie Rostteilchen, Späne, Sand, Hanf usw.
  • die Rückspülung erfolgt durch einfache Bedienung des Drehknopfes
  • keine Unterbrechung des Filtrationsprozesses während der Rückspülung
  • geringer Wasserverbrauch

Der Filter ist nicht einsetzbar zur Filtration von Teilchen größer 2 mm Durchmesser, Prozesswasser, Kühlwasser für Durchlaufkühlungen und chemikalienbehandelten Kreislaufwässern. Für alle Fette, Lösungsmittel, Seifen und sonstige schmierende Medien ist der Filter nicht geeignet
ebenso nicht zur Abscheidung wasserlöslicher Stoffe.

Lieferumfang:

  • Rückspülfilter mit Anschlussverschraubungen und Dichtungen
  • Filterelement mit großer Filterfläche
  • Messingkopfteil
  • Klarsichtzylinder
  • Rückspülelement und
  • HT-Anschluss für Spülwasser
  • Datumsring zum Einstellen des nächsten Rückspüldatums und
  • Drehknopf für manuelle Rückspülungen

Technische Daten:

  • Anschlussnennweite: DN 25
  • Durchflussleistung: 3,5 m3/h
  • Filterwirksamkeit: 90 µm
  • Nenndruck (PN): 16 bar
  • Betriebsdruck min/max: 2/16 bar
  • Wassertemperatur min/max: 5/30 Grad C
  • Umgebungstemperatur min/max: 5/40 Grad C
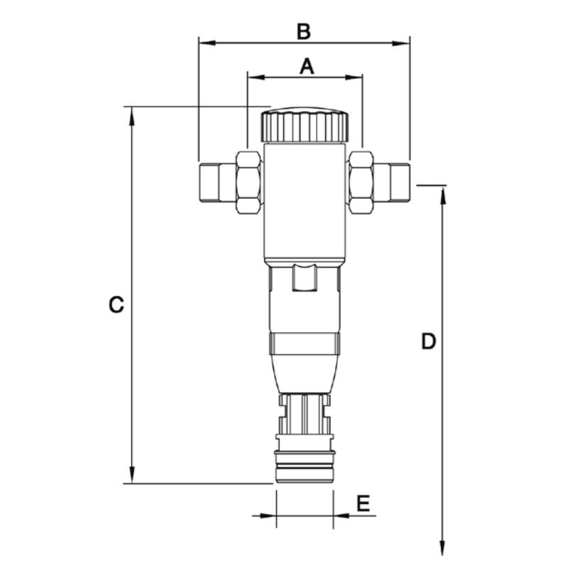
  • Gesamthöhe Amadeus eco RSF /Amadeus eco HWS (C): 380 mm
  • Mindesteinbaumass (Rohrmitte bis Boden) (D): 350 mm
  • Baulänge ohne Verschraubungen (A): 100 mm
  • Baulänge mit Verschraubungen (B): 184 mm
  • Durchmesser (HT-Anschluss) (E): 50 mm
  • Marke: BWT
  • Herstellernummer: 7-810493

Sicherheitshinweise

Sicherheitshinweise

Bitte beachten Sie die folgenden Hinweise zur sicheren Nutzung der angebotenen Produkte.
Sie dienen der Vermeidung von Gefahren, Verletzungen sowie Sach- und Folgeschäden.

Die Nutzung darf ausschließlich bestimmungsgemäß und unter Beachtung aller mitgelieferten Produktinformationen erfolgen. Montage, Installation und Wartung dürfen – sofern erforderlich – nur durch qualifiziertes Fachpersonal durchgeführt werden.

Bewahren Sie alle sicherheitsrelevanten Informationen dauerhaft auf und geben Sie diese bei Weitergabe des Produkts an Dritte mit.

Entwässerungs- und Abwassersysteme

Entwässerungssysteme müssen fachgerecht installiert werden, um einen sicheren Abfluss von Abwasser zu gewährleisten.

Alle Verbindungen sind dicht auszuführen. Undichtigkeiten können zu erheblichen Gebäudeschäden führen.

Es ist auf mögliche Rückstauereignisse zu achten. Gegebenenfalls sind geeignete Rückstausicherungen zu installieren.

Zur Beseitigung von Verstopfungen dürfen keine ungeeigneten oder aggressiven chemischen Mittel verwendet werden, da diese Materialien angreifen können.

Regelmäßige Wartung und Kontrolle sind erforderlich, um Funktionsstörungen und Schäden zu vermeiden.

Elektrische Komponenten und Systeme

Arbeiten an elektrischen Anlagen dürfen ausschließlich durch qualifizierte Elektrofachkräfte durchgeführt werden.

Vor Beginn von Arbeiten ist die Stromversorgung vollständig zu unterbrechen und gegen Wiedereinschalten zu sichern.

Elektrische Komponenten dürfen nicht mit Wasser oder Feuchtigkeit in Kontakt kommen, sofern sie nicht ausdrücklich dafür ausgelegt sind.

Beschädigte Kabel, Steckverbindungen oder Geräte dürfen nicht verwendet werden, da die Gefahr von Stromschlag oder Brand besteht.

Schwere und sperrige Produkte

Beim Transport und bei der Montage schwerer oder sperriger Produkte besteht eine erhöhte Verletzungsgefahr.

Der Transport sollte nach Möglichkeit durch mehrere Personen oder mit geeigneten Hilfsmitteln erfolgen.

Bei der Montage ist auf eine sichere Befestigung sowie auf die Tragfähigkeit von Wänden und Untergründen zu achten.

Unsachgemäße Handhabung kann zu Quetschungen, Stürzen oder Materialschäden führen.

Zusätzliche Hinweise

Die produktspezifischen Montageanleitungen, technischen Angaben und Sicherheitshinweise der jeweiligen Hersteller sind stets zu beachten und haben Vorrang.

Produktsicherheit

Hersteller
BWT Wassertechnik GmbH

Adresse
Industriestraße 7
69198 Schriesheim
Deutschland

E-Mail
bwt@bwt.de

Eigenschaften

Serie: Amadeus Eco
Produktart: Rückspülfilter
Abmessung (DN): DN 25
Abmessung (Zoll): 1"
Baulänge: 100 mm

Sicherheitshinweise

Sicherheitshinweise

Bitte beachten Sie die folgenden Hinweise zur sicheren Nutzung der angebotenen Produkte.
Sie dienen der Vermeidung von Gefahren, Verletzungen sowie Sach- und Folgeschäden.

Die Nutzung darf ausschließlich bestimmungsgemäß und unter Beachtung aller mitgelieferten Produktinformationen erfolgen. Montage, Installation und Wartung dürfen – sofern erforderlich – nur durch qualifiziertes Fachpersonal durchgeführt werden.

Bewahren Sie alle sicherheitsrelevanten Informationen dauerhaft auf und geben Sie diese bei Weitergabe des Produkts an Dritte mit.

Entwässerungs- und Abwassersysteme

Entwässerungssysteme müssen fachgerecht installiert werden, um einen sicheren Abfluss von Abwasser zu gewährleisten.

Alle Verbindungen sind dicht auszuführen. Undichtigkeiten können zu erheblichen Gebäudeschäden führen.

Es ist auf mögliche Rückstauereignisse zu achten. Gegebenenfalls sind geeignete Rückstausicherungen zu installieren.

Zur Beseitigung von Verstopfungen dürfen keine ungeeigneten oder aggressiven chemischen Mittel verwendet werden, da diese Materialien angreifen können.

Regelmäßige Wartung und Kontrolle sind erforderlich, um Funktionsstörungen und Schäden zu vermeiden.

Elektrische Komponenten und Systeme

Arbeiten an elektrischen Anlagen dürfen ausschließlich durch qualifizierte Elektrofachkräfte durchgeführt werden.

Vor Beginn von Arbeiten ist die Stromversorgung vollständig zu unterbrechen und gegen Wiedereinschalten zu sichern.

Elektrische Komponenten dürfen nicht mit Wasser oder Feuchtigkeit in Kontakt kommen, sofern sie nicht ausdrücklich dafür ausgelegt sind.

Beschädigte Kabel, Steckverbindungen oder Geräte dürfen nicht verwendet werden, da die Gefahr von Stromschlag oder Brand besteht.

Schwere und sperrige Produkte

Beim Transport und bei der Montage schwerer oder sperriger Produkte besteht eine erhöhte Verletzungsgefahr.

Der Transport sollte nach Möglichkeit durch mehrere Personen oder mit geeigneten Hilfsmitteln erfolgen.

Bei der Montage ist auf eine sichere Befestigung sowie auf die Tragfähigkeit von Wänden und Untergründen zu achten.

Unsachgemäße Handhabung kann zu Quetschungen, Stürzen oder Materialschäden führen.

Zusätzliche Hinweise

Die produktspezifischen Montageanleitungen, technischen Angaben und Sicherheitshinweise der jeweiligen Hersteller sind stets zu beachten und haben Vorrang.